vr|ar|虚拟现实
3月20日消息,美国专利商标局发布了一项与AR/VR相关的苹果专利,专利中指出了一种为可切换AR/VR模式的头显打造的多模式音频系统。

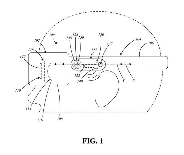
据了解,在VR模式中,该音频系统可切换为降噪的沉浸式音频模式。而在AR模式中,则无需降噪,用户可听到周围其他人的声音,不影响日常交流,具体体验感可参考骨传导智能眼镜Bose Frame。此外,还从耳外切换为耳内音频输出模式,保证隐私。
音频模式切换足够方便,用户只需要移动音频系统在头显上的位置,另外音频系统也可以针对不同需求进行拉长或缩短,也可以搭配可变形泡沫等材质的耳罩,或者低音扬声器。
此外,苹果在专利中写到,用户可通过切换音频模式来改变头显的VR或AR模式。
全部0条评论
快来发表一下你的评论吧 !