电子说
本系统中,8031片内RAM和8155片内RAM用作监控工作单元,外部2K RAM用作采集到的数据缓冲区、打印缓冲区、键盘和显示缓冲区。
系统软件按模块设计,主要有系统初始化模块、键处理模块、继电器阵列控制模块、数据处理模块、显示打印模块和自动换档测试模块。
①主程序:通过调用系统初始化程序等,达到测试目的。流程图如图1所示。
②继电器阵列控制模块:根据测试要求,实现对继电器的控制,将检测点接人Rx测量端。流程如图2所示。

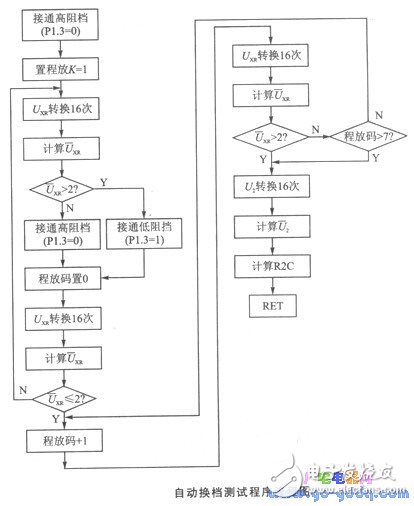
③自动换档测试模块:该模块完成高低阻换档,接通程控放大器并采集数据的任务。流程图如图3所示。

限于篇幅,其他模块框图从略。
本节介绍的方法已被综合检测系统所采用,实现了多触点间的绝缘电阻自动检测,测量精度已达到文中所述指标。
该方法也适用于其他电子设备绝缘电阻的自动检测。
全部0条评论
快来发表一下你的评论吧 !