ADXL330/ADXL345 ―高重力加速度的侦测器

新品快讯

29人已加入

描述

ADXL330/ADXL345 ―高重力加速度的侦测器


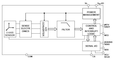
ADXL345是ADI首颗加入数码输出的高重力加速度的侦测器.最高可支持到±16g,ADC可为10bit~13bit灵敏度可维持在4mg/LSB.为了方便使用ADXL345支持I2C/SPI及中断输出,可有效减轻MCU的负荷. 3mm x 5mm小型化包装非常适合用于可携式产品.

侦测器 

打开APP阅读更多精彩内容
声明:本文内容及配图由入驻作者撰写或者入驻合作网站授权转载。文章观点仅代表作者本人,不代表电子发烧友网立场。文章及其配图仅供工程师学习之用,如有内容侵权或者其他违规问题,请联系本站处理。 举报投诉

全部0条评论

快来发表一下你的评论吧 !

×
20
完善资料,
赚取积分